2月18日,#58同城回应柬埔寨血奴案#登上热搜,同时#58同城因平台信息虚假被投诉11598次#也引发围观。
截至目前,#58同城回应柬埔寨血奴案#引发3.6 亿阅读,2.6 万讨论,
#58同城因平台信息虚假被投诉11598次#引发591.6 万阅读,1061讨论。
一、28日到达传播顶峰,需持续关注舆情动向
从乐思舆情采集系统数据显示,近7天,含有关键词“同城+血奴”在互联网上共有1798篇,在129个网站上传播。

从事件趋势图来看,2月17日开始出现少量58同城相关言论。
从本次舆情事件来看,2月15日前后事件被爆出,网络主要针对“诈骗团伙”“抽血”、“卖血”进行讨论,截至2月17日@每日经济新闻网发布“2月12日,柬埔寨中柬第一医院向我馆反映,该院收治了1名李姓中国男子,其因轻信同城网上的虚假招工广告,被犯罪团伙胁迫偷渡至柬,后遭柬西哈努克港中国城内网赌电诈团伙非法拘禁,并被多次大剂量抽血,生命垂危。”随后众多网友开始传播“同城网”即为“58同城”,58同城在此次事件中被推上舆论风口。
随后,新闻媒体华夏时报发布的《58同城回应“柬埔寨血奴案”:会全力协助相关部门调查》中提到“随着此案广受关注,部分网友认为发布招聘广告的58同城平台难辞其咎。2月17日上午,58同城一位客服人员向《华夏时报》记者回应称:‘我们会全力配合、协助相关部门的调查。’”
二、微博、新闻和APP是本次舆情传播的三大主要平台

微博以话题形式传播,主要包括#58同城回应柬埔寨血奴案#和#58同城因平台信息虚假被投诉11598次#整体调性以负面为主。
新闻媒体主要以58同城回应为传播要点,暂未出现其它方向负面舆情滋生传播。
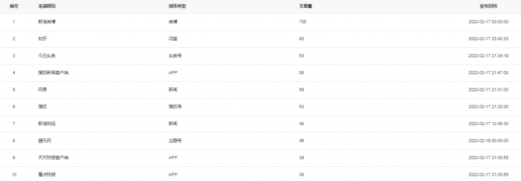
三、新浪微博是舆情主战场,知乎以及今日头条等自媒体亦不容忽视

除了新浪微博外,依次有知乎、今日头条、搜狐新闻客户端、网易、搜狐、新浪财经、腾讯网、天天快报客户端、看点快报对此次事件积极参与。
从社会性事件到企业的负面舆情事件,这是一类典型的次生舆情滋生而引发的企业舆论危机。
乐思舆情认为,完善企业舆情监测关键词如58同城,当信息中涉及到招聘网中的同城网难免引起网友的猜测从而激发舆情传播。
此外,#58同城因平台信息虚假被投诉11598次#中提到“一直以来,58同城因平台信息虚假持续被消费者投诉,记者留意到,黑猫投诉平台上关于58同城的投诉高达11598条。”来看,企业在日常的用户服务体验上需不断完善,针对存在的问题按风险等级及时处理。