乐思网络舆情监测发现,据国家互联网信息办公室网站消息,根据举报,经检测核实,“滴滴出行”App存在严重违法违规收集使用个人信息问题。国家互联网信息办公室依据《中华人民共和国网络安全法》相关规定,通知应用商店下架“滴滴出行”App,要求滴滴出行科技有限公司严格按照法律要求,参照国家有关标准,认真整改存在的问题,切实保障广大用户个人信息安全。

1.传播网站

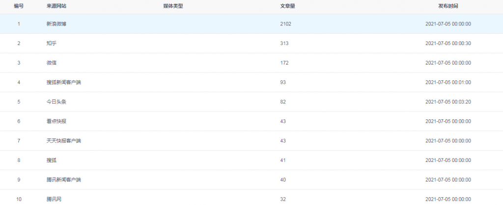
2.最多转载的网站排名图

3.文章传播扩散图

怎么样才能做好社会责任舆论管理
社交大号是社会媒体影响者。他们在互联网上非常受欢迎,在微信、微博、豆瓣、QQ、小红书等最受欢迎的社交媒体上拥有上千名粉丝,或者是视频平台优酷(Youku)、哔哩哔哩(Bilibili)、美拍(Meipai)上拥有数万粉丝。
社交大号推广在中国作为你营销策略的一部分,如果你想快速吸引消费者,同时提高你的知名度,那是必不可少的。事实上,社交大号可以被认为是社交媒体领域的专业人士。他们知道如何打造自己,推销和销售产品,并且清楚地展示你的产品的优势。他们的成功主要是因为他们直接与观众互动(例如在直播期间),而且他们知道如何吸引目标受众。
企业舆论舆论情况公关公众新闻
由于中国消费者在购买产品时高度依赖口碑,他们很大程度上受到了来自他们在社交媒体上关注的人的影响。公众化的自媒体平台是内容创建者、电子商务影响者和企业家的集聚地。社交大号是内容创造者,拥有电子商务企业,通过广告进行货币化,是企业家社区的领导者。例如,由于他们比任何人都更快地掌握了销售产品的艺术,一些最大的电子商务平台正在与著名的社交大号一起推广他们的营销销售和特别活动。
舆论舆论情况公关公众新闻对企业至关重要,最终还是取决于客户关键意见。如何利用公众自媒体平台或者社交大号进行推广是首选的手段。社交大号是因为他们通常推荐的品牌和产品更有价格优势或者品牌的效用。而社交大号经常利用到的就是自媒体平台,或者各种新闻媒体频道的资源。
企业舆论舆论情况公关公众新闻
速名网的就是百度百家,大鱼号,企鹅号等自媒体平台进行网络营销与品牌推广,这是一种比较快捷的品牌建设方式。对于舆论舆论情况公关公众新闻,利用公众自媒体可以快速推广出去,让更多人知道一个企业的品牌形象。以上就是如何做好企业舆论舆论情况公关公众新闻一些粗浅建议,希望对大家有所帮助。