乐思行业舆情监测:支付宝紧跟政策走向,提升用户服务体验
发布时间:2022-02-24

2022年2月22日,中国支付清算协会组织发布关于优化条码支付服务的公告。

公告主要包括:

一、进一步优化营商环境,提供更加精准和便捷的支付服务。新设“个人经营收款码”,用户可自由选择使用。用户使用“个人经营收款码”,服务不减、体验不变,赋码过程免费,并可享受更高效的交易对账等服务。

二、现行“个人收款码”不关闭、不停用、功能不变。

三、尊重用户的知情权和选择权,会员单位要畅通渠道,加强对用户的沟通和解释,避免不法分子借机诈骗。

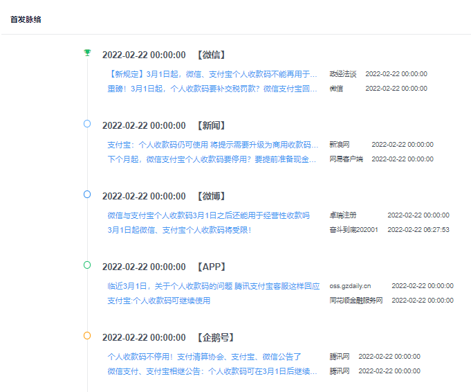
当日,微信支付及支付宝及时响应跟进发布最新信息:《微信支付:3月1日之后个人收款码可继续使用 升级个人经营收款码可享受更多支付功能》和《支付宝个人收款码可“0费用不换码”升级

近三天,根据乐思舆情监测系统显示关键词“支付宝+个人收款码”获取到5808篇信息,主要分布在微信公众号、新浪微博、腾讯网、网易、搜狐。

具体舆情特点包括以下几点:

一、次日达到舆情传播高峰,三日内舆情出现明显波动变化

二、微信公众号、新闻和APP是本次舆情的主要传播平台

三、微信公众号平台首发,随后向新闻媒体和自媒体平台蔓延

四、用户对支付宝更进措施无明确表态,部分网友表示政策指示不明确

不止是颗糖77 :我就一直没看懂过这规定 我都没法跟我妈解释

闭嘴说话不算话 :我们这摊煎饼的大哥大姐们都慌了半个多月了去银行问也搞不明白,给运营商打电话也在说观望,起早贪黑赚几个钱挺不容易的,银行办收款码手续费最低0.38现在又说能用了,真的是官方一张嘴,小百姓跑断腿

旅行中的设计师Sama:规定朝令夕改是什么原因

分类: 每日舆情 标签: